Лабораторная
работа
Исследование подшипника скольжения
1. Цель работы
- Изучить работу подшипника скольжения в режиме
жидкостного трения.
- Определить коэффициент трения в зависимости от удельной
нагрузки.
- Построить графики зависимости f=f(p) на
основании теоретической зависимости и по опытным данным.
2. Теоретические
положения
Момент трения и тепловыделение в
подшипнике растут с ростом
коэффициента трения. Коэффициент трения будет наименьшим при переходе от
граничного трения к жидкостному (рис. 1). При жидкостном трении трущиеся поверхности полностью разделены
слоем смазки.
Жидкостное трение может быть осуществлено за счет:
а) подачи масла в зазор между цапфой и втулкой под
таким давлением, которое уравновесило бы нагрузку на подшипник (гидростатический
подпор);
б) создания таких условий, при которых внутри
масляного слоя появляется противодавление необходимой величины (гидродинамический
подпор).

Рис. 1. Зависимость коэффициента трения в подшипнике
от характеристики режима работы подшипника
В данном случае исследуется работа подшипника в режиме
жидкостного трения. Теоретическим путем установлена зависимость среднего
коэффициента трения в подшипнике от геометрических параметров подшипника и характеристики
режима работы в виде
![]()
где ∆ – диаметральный зазор в подшипнике, мм;
d –
диаметр шипа, мм;
– характеристика режима работы подшипника (величина
безразмерная).
Здесь μ – динамическая вязкость масла, Пас;
n –
частота вращения шипа, рад/с;
p – удельная
нагрузка в подшипнике, МПа.
ω – угловая скорость шипа, с–1
Из формулы (1) следует, что коэффициент трения в
подшипнике данного размера зависит от характеристики режима работы подшипника
(см. рис. 1). Вязкость масла μ, определяемая значением температуры,
является регулирующим фактором, способствующим удерживанию режима жидкостного
трения.
При увеличении λ от λ2
до λ1, например, из-за изменения n или p, значение f возрастает от f2 до f1 . В результате
увеличивается количество выделяемого тепла
и, следовательно, уменьшается вязкость масла, а это вызывает уменьшение λ
и соответственно уменьшение f. При этом количество выделяемого тепла падает, вязкость увеличивается,
снова растет коэффициент трения и т.д.
Следовательно, режим работы подшипника автоматически
регулируется изменением вязкости масла μ. При λ ниже λкр
возникает разрыв масляной пленки и наступает режим граничного трения.
Работа подшипника в этом режиме весьма неустойчива,
характеризуется резкими изменениями коэффициента трения и повышенным износом.
Экспериментальное значение коэффициента трения в
подшипнике может быть определено по уравнению
![]()
где δ– показание нижнего индикатора (число
делений);
F –
показание нагрузочного динамометра, Н.
3.
Основные правила по технике безопасности
- Запрещается открывать заднюю
крышку при работающем электродвигателе.
- Не включать установку под нагрузкой.
- Нагружение подшипника производить только при
работающем двигателе.
- Не включать установку до
устойчивой подачи масла (30…40 капель в
минуту).
- Кран на маслопроводе открывать до пуска установки и
закрывать после полной остановки.
- Работа на установке разрешается только в присутствии
преподавателя.
4.
Описание установки
Для исследования подшипника используется установка ДМ
Шпиндель, вращающийся в двух
шарикоподшипниковых опорах, установленных
в корпусе, имеет консольно расположенный рабочий участок (шип), который несет
на себе обойму 15 с подшипниковой втулкой 16. Эта втулка вместе с шипом образует исследуемый подшипник
скольжения, для нагружения которого используются винт 9, рукоятка 8 и тяговый параллелограмм 19. Для
измерения радиального усилия на подшипник используется динамометр 10, установленный между винтом и параллелограммом.
При вращении рукоятки винт перемещается вверх и через динамометр и
параллелограмм передает усилие на подшипник. Шкала динамометра градуирована в
кгс (1 кгс = 9,81 Н
10 Н).

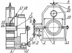
Рис. 2. Установка ДМ29М: 1 – корпус; 2 – панель
управления; 3 – кнопки
включения-выключения
электродвигателя; 4 – включатель
сети; 5 – винт регулировочный; 6 – кронштейн нижний; 7, 10
– индикаторы;
8 – рычаг измерительный; 9 – кронштейн верхний; 11
– рукоятка; 12 – винт нагружения;
13 – динамометр; 14 – груз балансирный

Рис. 3. схема
установки: 1 – корпус; 2 – винт регулировочный; 3 – кронштейн нижний; 4, 7 –
индикаторы;
5 – рычаг измерительный; 6 – кронштейн
верхний; 8 – рукоятка; 9 – винт нагружения; 10 – динамометр;
11 – груз балансирный; 12 –
электродвигатель; 13 – клиноременная
передача; 14 – шпиндель; 15 – обойма;
16 – втулка подшипника; 17 – краник; 18 – бачок; 19 –
параллелограмм тяговый
Для определения момента трения в подшипнике имеется измерительное
устройство (см. рис. 3), состоящее из закрепленных на обойме 15 измерительного рычага 5 и балансирного груза 11, нижнего качающегося кронштейна 3 с регулировочным винтом 2, измерительной пружиной и индикатором 4, а также неподвижного верхнего
кронштейна 6 с индикатором 7. При вращении шпинделя 14 за счет момента трения на подшипнике
измерительный рычаг давит на пружину и через нее – на ножку индикатора, по
показаниям которого определяется величина момента трения. Верхний индикатор 7 служит для контроля установки рычага в
исходное положение.
Для смазки подшипника
используется масло, заливаемое в бачок 18, откуда оно самотеком по шлангу через запорный краник 17 поступает в приемную воронку
подшипника.
Техническая характеристика испытуемого подшипника: диаметр
шипа
Электродвигатель типа A02–12–4 мощностью Р = 0,8 кВт с частотой
вращения 1350 мин–1.
5. Методика проведения
испытаний и обработка результатов
Изучить устройство испытательной установки, вычертить
схему и составить ее описание.
Заполнить табл.1 отчета. Марка масла сообщается
преподавателем. Обычно применяется масло индустриальное 20 с динамической
вязкостью μ30 = 17∙103 Пас.
Вычислить и занести в табл. 2 отчета величины средних
удельных нагрузок
, МПа, в подшипнике для усилий нагружения F от
50 до 5000 Н с интервалом 500 Н (d и l в м).
по формуле (1) вычислить
коэффициент жидкостного трения f для соответствующих величин р при
частоте вращения шипа 760; 1350; 2400 мин-1.
Построить график зависимости по формуле (1).
Проверить готовность установки к работе. Залить масло
в систему смазки подшипника. Уравновесить балансирным
грузом 14 (см. рис. 3) массу
измерительного рычага 8 и выставить
его в горизонтальное положение. Подвести
винтом качающийся кронштейн так, чтобы измерительная пружина вошла в
соприкосновение с пяткой рычага, и выставить на нуль нижний 7 и 10
верхний индикаторы.
Подать масло каплями в подшипник (примерно 30...40
капель в минуту) и включить электродвигатель. Нагрузить подшипник усилием
500 Н и дать проработать 3...5 минут. Затем с помощью винта качающегося
кронштейна вывести верхний индикатор на нуль и записать показание индикатора в
табл. 2 отчета.
Нагрузить ступенями через 500 Н подшипник и в табл. 2
отчета записать показания нижнего индикатора.
Примечание. На каждой ступени нагружения с помощью винта
качающегося кронштейна необходимо выводить верхний индикатор на нуль.
По формуле (2) определить коэффициент трения для всех
случаев нагружения и занести в табл. 2 отчета.
Построить график зависимости
по формуле (2).
6.
Содержание и оформление отчета
6.1 Титульный лист.
6.2 Цель работы.
6.3 Кинематическая схема установки.
6.4.
Расчетные уравнения
![]()
![]()
Таблица 1. Характеристика подшипника
|
Материал |
шипа |
|
|
|
втулки |
|
|
Номинальный диаметр подшипника d, мм |
|
|
|
Длина шипа l, мм |
|
|
|
Диаметральный зазор в подшипнике ∆, мм |
|
|
|
Наименование и марка масла |
|
|
|
Динамическая вязкость масла
при расчетной температуре |
|
|
Таблица 2. Результаты испытаний подшипника
|
Нагрузка на подшипник F, Н |
|
|
Удельная нагрузка р,
МПа |
|
|
Показание нижнего
индикатора δ, делений |
|
|
Коэффициент трения экспериментальный
(формула (2)) |
|
|
Коэффициент трения
расчетный (формула (1)) |
|
Графики зависимости
по
экспериментальным и расчетным данным
|
f p, Мпа |
7.
Вопросы для самоконтроля
1. Чем объясняется устойчивый характер жидкостного
трения в подшипнике?
2. Есть ли соответствие между
расчетным и экспериментальным коэффициентами трения для исследуемого режима работы
подшипника?
3. Какие смазочные материалы применяют в подшипниках
скольжения?
4. Что представляют собой динамическая и
кинематическая вязкость и в каких единицах они измеряются?
email: KarimovI@rambler.ru
Адрес: Россия, 450071, г.Уфа, почтовый ящик 21
Теоретическая механика Сопротивление материалов
Строительная механика Детали машин Теория машин и механизмов