Лабораторная
работа
Изучение
работы упругих муфт
1. Цель работы
- Установление зависимости изгибающего момента и
радиальной силы, действующих на вал, от величины
радиального смещения.
- Установление зависимости изгибающего момента вала от
величины углового смещения.
- Определить крутильную жесткость исследуемой муфты,
установить вид её характеристики.
2. Теоретические
положения
2.1.
Введение
Применение упругих муфт позволяет снизить динамические
нагрузки, предотвратить опасные резонансные колебания, а также компенсировать
взаимную неточность расположения валов.
Упругие муфты состоят из двух полумуфт, с размещенным
между ними упругим элементом, обычно неметаллическим – эластомером (резина,
полиуретан), а иногда выполненным в виде
стальной пружины.
Упругие муфты обладают податливостью, (величина
обратная жесткости) и демпфирующей способностью.
Крутильная жесткость муфт определяется по зависимости
вращающего момента от угла закручивания.
Бывают муфты с линейной характеристикой жесткости (прямая А, рис.1)
![]()
И нелинейной
(кривая В, рис.1), с переменной жесткостью
![]()

![]()
Рис. 1

Рис.2
На рис.2 показана область, представляющая собой
энергию, рассеиваемую за счет внешнего трения.
Способность муфты поглощать (рассеивать) механическую энергию, превращая
ее в тепло, характеризует демпфирующую способность муфты. Демпфирующую
способность оценивают коэффициентом относительного демпфирования ψ,
представляющим собой отношение энергии, поглощенной за цикл нагружения
, к работе упругой деформации
за четверть
периода.
![]()
2.2. Конструкции муфт
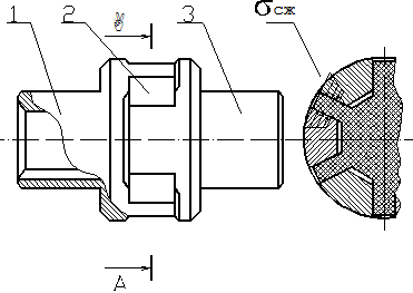
Муфта с торообразной оболочкой (рис. 3) состоит из
одинаковых полумуфт 1 и 6, соединенных резиновым или упругим резинокордным
элементом 3, выполненным в виде торообразной оболочки и имеющим радиальный
разрез для облегчения сборки. Борта оболочки прижимают к фланцам полумуфт
нажимными кольцами 2 и 4 с помощью винтов 5. При больших частотах вращения муфты упругий элемент выполняют без
разреза, что усложняет конструкцию муфты. В не зажатой (свободной) части
оболочки под действием вращающего момента возникают напряжения сдвига, а в
бортах оболочки – напряжения сжатия от сил затяжки винтов.
Муфта допускает значительные осевые, радиальные и
угловые смещения валов.

Рис. 3

Рис. 4
Муфта с коническим резиновым диском (рис. 4) состоит
из одинаковых полумуфт 1 и 6 и упругого элемента, состоящего, в свою очередь,
из резинового диска 4, привулканизированного
коническими торцами к металлическим кольцам 3 и 5. Упругий элемент крепят к
полумуфтам винтами 2. Коническая форма резинового диска обуславливает
равномерное распределение напряжений в резине при действии вращающего момента.
Муфта допускает незначительные угловые и радиальные смещения валов.
Муфта с резиновой звездочкой (рис. 5) состоит из
полумуфт 1 и 3, торцевые кулачки которых входят между лучами резиновой
звездочки 2. При передаче вращающего момента в каждую сторону работает половина
лучей звездочки, испытывая напряжение сжатия. Муфта допускает незначительные
радиальные и угловые смещения валов.

Рис. 5
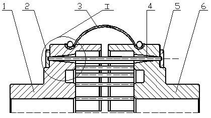
Муфта упругая втулочно-пальцевая (МУВП) (рис. 6). На
полумуфте 1 своими коническими хвостиками закреплены пальцы 2. На пальцах
2 установлены резиновые втулки 3. В полумуфте 4 выполнены отверстия, в которые
входят пальца с втулками. Втулки имеют канавки для уменьшения жесткости муфты. Под действием вращающего
момента во втулках возникают напряжения сжатия.
Муфта допускает незначительные радиальные и угловые
смещения валов в пределах осевого зазора между полумуфтами.
Муфта со стержнями (рис. 7.1) состоит из одинаковых
полумуфт 1 и 6, соединенных стальными цилиндрическими стержнями 4,
расположенными по окружности в отверстиях переменного сечения. Стержни могут
быть установлены в отверстиях, расположенных по окружностям двух разных
диаметров (в два раза). Шайбы 2 и 5 предохраняют стержни от выпадения и
совместно с кожухом 3 удерживают смазочный материал. При нагружении
муфты могут иметь постоянную (вариант а) на рис 7.2) или переменную (вариант б)
на рис. 7.2) жесткости.
Муфта допускает незначительные осевые, радиальные и
угловые смещения валов.

Рис 6

Рис. 7.1

Рис 7.2
3.
Описание установки

Рис.8
На рис. 8 показан общий вид установки.
Установка состоит из основания 1, станины 4, редуктора
12, тензометрического вала 10,
исследуемой муфты 11 и панели управления 5. Тензометрический вал 10
закреплен в опоре 9 с возможностью поворота от маховика 6, а датчик 7 позволяет
определить угол поворота рычага и снять показания по шкале 8.
Редуктор 12 установлен на шариковых направляющих и
может перемещаться от моховика 17, величину перемещения определяют по шкале
16 либо по датчику
установленному внутри станины под крышкой 18.
Нагружение муфты крутящим моментом осуществляется посредством
моховика 13 после поворота рычага 15, включающего зубчатую муфту редуктора.
В дополнение приведем основные приспособления для
управления и регулирования.
3 – рукоятка пуска и фиксации маятника, расположенного
за прозрачным щитом 2,
5 – панель управления,
6 – маховик углового смещения тензометрического вала,
7 - датчик углового смещения тензометрического вала,
8 - шкала углового смещения тензометрического вала,
13 – маховик нагружения
муфты крутящим моментом,
14 – датчик угла закручивания муфты,
15 – рычаг включения – выключения червячной передачи,
16 – шкала линейного смещения редуктора,
17 - маховик линейного смещения редуктора,
18 - шкала линейного смещения редуктора.
В работе исследуется муфта упругая с торообразной
оболочкой, имеющая характеристики:
1. Номинальный момент - 70 Hм
2. Наружный диаметр - 160 мм
3. Толщина оболочки - 10 мм
4. Материал оболочки - резина
5. Модуль упругости - 7 МПа
6. Сопротивление разрыву - 10 МПа.
Для отклонения осей валов от соосности
в горизонтальной плоскости (радиальное смещение) редуктор 12 перемещают
маховиком 17, отсчитывая величину смещения по шкале 16. Для углового смещения
валов в горизонтальной плоскости необходимо повернуть маховик 6, отсчитывая угол по шкале 8. Нагружение муфты крутящим моментом может быть от редуктора или поворотом тяги маятника, показанным на
рис.9, до срабатывания защелки и установки тяги маятника 2 на стопор рукояткой
4.

Рис.9
4. Методика проведения
испытаний и обработка результатов
4.1. Установление зависимости изгибающего
момента и радиальной силы, действующих на вал от величины
радиального смещения.
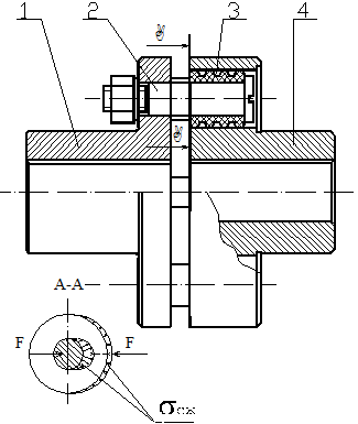
Очевидно, что радиальное смещение ∆ осей валов
вызовет радиальное смещение осей
полумуфт, как видно из рис.10. В сечениях 1 и 2 возникнут изгибающие моменты,
величина которых определяется
выражениями (4) и (5):

Рис.10
![]()
![]()
Решаем данную систему (4) , (5) относительно F и M, приняв ![]()
Тогда
радиальная сила F:
![]()
![]()
Порядок работы:
1. Выставить муфту в исходное положение, когда
значение угловых и радиальных смещений равны «0».
2. Нагрузить муфту крутящим моментом
Т=(0,5…1,0)Тном, для чего вращают
маховик 13 после поворота вверх рычага 15.
3. Произвести радиальное смещение
валов при помощи маховика 17 снимая значения изгибающих моментов M1 и M2 через 1
мм смещения трижды.
Таблица 1
|
Изгибающие моменты |
35 |
50 |
65 |
||||||
|
M1 |
|
|
|
|
|
|
|
|
|
|
|
|
|
|
|
|
|
|
|
|
|
|
|
|
|
|
|
|
|
|
|
|
M2 |
|
|
|
|
|
|
|
|
|
|
|
|
|
|
|
|
|
|
|
|
|
|
|
|
|
|
|
|
|
|
|
|
M=0,5(3M1-M2) |
|
|
|
|
|
|
|
|
|
|
|
|
|
|
|
|
|
|
|
|
|
|
|
|
|
|
|
|
|
|
|
|
F=(M1-M2)/l2 |
|
|
|
|
|
|
|
|
|
|
|
|
|
|
|
|
|
|
|
|
|
|
|
|
|
|
|
|
|
|
|
4. По данным эксперимента строим кривые
зависимостей
и
.
Вывод: В качестве вывода необходимо обосновать
целесообразность компенсации радиального смещения осей соединяемых валов.
4.2. Установление зависимости изгибающего
момента вала от величины углового смещения

Рис.11
На рис.11 показано угловое смещение муфты γ.
Увеличение углового смещения γ приводит
к возрастанию изгибающего момента, действующего на вал.
Порядок работы:
1. Нагрузить муфту крутящим моментом Т=(0,5…1,0)Тном
2. Посредством маховика 6 произвести угловое смещение
полуосей муфты 8 через 10,
регистрируя при этом моменты M1 и M2.
Таблица 2
|
Изгибающие моменты |
35 |
50 |
65 |
||||||
|
M1 |
|
|
|
|
|
|
|
|
|
|
|
|
|
|
|
|
|
|
|
|
|
|
|
|
|
|
|
|
|
|
|
|
M2 |
|
|
|
|
|
|
|
|
|
|
|
|
|
|
|
|
|
|
|
|
|
|
|
|
|
|
|
|
|
|
|
|
M=0,5(3M1-M2) |
|
|
|
|
|
|
|
|
|
|
|
|
|
|
|
|
|
|
|
|
|
|
|
|
|
|
|
|
|
|
|
3. Построить график зависимости
.
Вывод: В качестве вывода необходимо обосновать
целесообразность компенсации углового смещения осей соединяемых валов.
4.3. Определить крутильную жесткость исследуемой
муфты, установить вид её характеристики
Крутильная жесткость всей системы (тензовал
и муфта в статике) может быть определена опытным путем по выражению:
![]()
Крутильная жесткость муфты в статике находится из
выражения:
![]()
Где Cb - крутильная жесткость тензометрического
вала, определяемая по формуле:
![]()
где G = 81 ГПа
- модуль сдвига для стали.
![]()
D =32 мм – наружный диаметр вала.
– отношение внутреннего
диаметра тензовала к его наружному диаметру.
= 0,16 мм – длина тензовала.
Порядок работы:
1.Нагрузить муфту крутящим моментом
![]()
согласно схеме рис.12.

Рис.12
2. Произвести замеры соответствующих
φ.
Таблица 3
|
T, Нм |
15 |
30 |
45 |
60 |
75 |
|
|
|
|
|
|
|
3. Построить зависимость ![]()
4.
Из графика определить ∆T и ∆φ
5. По зависимостям (7) и (8) определить жесткость всей
системы и муфты.
5.
Вопросы для самоконтроля
1. Каково назначение муфт приводов?
2. Какие муфты называют упругими?
3. Какие характеристики упругих муфт рассматривались в
работе?
6.
Список использованной литературы
1. Ряховский О.А., Иванов
С.С. Справочник по муфтам. -Л.: Политехника,1991.
2. Решетов Д.Н. Детали машин. Учебник для студентов
машиностроительных и механических специальностей вузов. – 4-е изд. перераб. и доп.- М.:Машиностроение 1989.
email: KarimovI@rambler.ru
Адрес: Россия, 450071, г.Уфа, почтовый ящик 21
Теоретическая механика Сопротивление материалов
Строительная механика Детали машин Теория машин и механизмов