Лабораторная
работа
Изучение
конструкции, определение основных параметров, разборка и сборка цилиндрического
зубчатого редуктора
1. Цель работы
1)
ознакомление конструкцией редуктора,
особенностями его сборки и разборки, системой смазки;
2)
составление кинематической схемы реального зубчатого редуктора;
3)
определение основных параметров зубчатых передач, габаритных и
присоединительных размеров редуктора;
4)
вычисление допускаемого крутящегося момента на выходном валу редуктора.
2.
Основные сведения о редукторах
2.1. Кинематические схемы цилиндрических
редукторов
Цилиндрические
зубчатые редукторы – механизмы с зубчатыми передачами, выполняемые в виде
отдельных агрегатов, служащие для передачи мощности от двигателя к рабочей
машине с соответствующим понижением угловых скоростей и повышением крутящего
момента от входного к выходному валу. В современных
редукторах применяют, как правило, косозубые и шевронные передачи, обладающие
большей несущей способностью и плавностью работы по сравнению с прямозубыми
передачами.
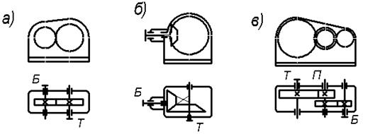
Редукторы
выполняют одно-, двух- и трехступенчатыми по числу
зубчатых передач, рис.1, горизонтальном и вертикальном исполнении.
Преимущественное распространение имеют
двухступенчатые редукторы (65% от общего
числа), выполняемые по развернутой, раздвоенной, рис.1,б,в;
или сосной, рис.1,д, схеме с одним, двумя или тремя потоками мощности.

Рис.1
Наиболее распространены редукторы с простой
развернутой схемой рис.1,б. Они технологичны, имеют малую ширину, легко
унифицируются с редукторами типов Ц, ЦЗ, КЦ, КЦ2, ЧЦ,
но требуют жестких валов, так как несимметричное расположение колес приводит к
концентрации нагрузки по длине зуба.
Для улучшения работы наиболее нагруженной
тихоходной ступени применяют редукторы с раздвоенной быстроходной ступенью,
рис.1в, деформация валов которой не вызывает существенной концентрации нагрузки
по длине зубьев вследствие симметричного расположения колес относительно опор.
Редукторы, выполняемые по соосной схеме – с
соосным расположением входного и выходного валов, отличаются меньшими
габаритами по длине. Они более удобны с точки зрения компоновки привода.
Расположение зубчатых колес на входном выходном валах этих редукторов
симметрично. Однако конструктивное расположение опор соосных валов внутри
корпуса предопределяет увеличение длины промежуточного вала – уменьшение его
жесткости.
Выбор
принципиальной схемы редуктора определяется эксплуатационными требованиями и
условиями компоновки.
Для получения
выигрыша в массе и габаритах передачи нерационально использовать большие
передаточные числа U в одной
ступени. Практикой выработаны следующие рекомендации для редукторов:
одноступенчатых цилиндрических U=1.8….6.3, но не
более 8 (рис. 2,а); одноступенчатых конических U=
1.5….4, но не более 6,3 (рис. 2,б); цилиндрических двухступенчатых U =6.3…..40, но не более 50 (рис. 2,в,г,д); коническо- цилиндрических U =8….28 (рис. 2,е); трехступенчатых цилиндрических и
коническо–цилиндрических U=31.5….180.
Коническо–цилиндрические редуктора применяют при
необходимости обеспечения взаимной перпендикулярности входного и выходного
валов.
Общее
передаточное число двух- и многоступенчатых редукторов распределяют между
ступенями. Масса и габариты редукторов в значительной степени зависят от того,
как распределено общее передаточное число между ступенями. Лучшие показатели
имеют редукторы, у которых размеры диаметров колес всех ступеней близки между
собой. В этом случае также выполняется и условие смазывания погружением колес в
общую масляную ванну.
Так как
быстроходная ступень нагружена меньше, чем тихоходная, то для получения
диаметров колес, размеры которых близки между собой, передаточное число первой
(быстроходной) ступени рекомендуют брать больше, чем
второй, при одновременном увеличении коэффициента ширины колес от быстроходной
к тихоходной ступени.

Рис.
2. Кинематические схемы зубчатых редукторов
2.2. Конструкция редуктора
Цилиндрический редуктор, рис.3, состоит из
корпуса – основания 1 и крышки 8, в которых размещены быстроходная и тихоходная
косозубые передачи. Шестерня быстроходной передачи изготовлена заодно с входным
валом 14. Колесо 31 установлено на промежуточном валу 29, заодно с которым
изготовлена и шестерня тихоходной передачи. Колесо 23 тихоходной передачи
установлено на выходном (тихоходном) валу 18 редуктора. Для передачи крутящего
момента от электродвигателя на входном валу 14 установлена призматическая шпонка
34. С колеса 31 и 23 на вал 29 и 18 крутящий момент передается через шпонки 16
и 26. Для предотвращения смещения зубчатых колес 31 и 23 по оси на валах 29 и
18 с одной стороны предусмотрены бутики, с другой стороны – распорные втулки 17
и 25. Валы и втулки упираются во внутренние кольца подшипников качения.
В конструкции редуктора применены шариковые
радиальные подшипники 21, 30, 33. Их использование, несмотря на то, что
передачи в редукторе косозубые, объясняется простотой сборки (не требуется
регулировки), способностью воспринимать осевые нагрузки в пределах 70% от
неиспользованных радиальных допустимых нагрузок. Применение радиальных
подшипников позволило также упростить конструкцию крышек 15, 20, 24, 28,
выполнив их закладными.
Со стороны входного и выходного вала крышки 15
и 20 выполнены сквозными и имеют уплотнительные
устройства 19, препятствующие попаданию механических частиц в подшипники и
внутреннюю полость редуктора и вытеканию смазки через кольцевой стык между
валом и стенкой отверстия.
Для обеспечения необходимого осевого зазора и
регулировки зацепления между торцами закладных крышек и наружных колец
подшипников установлены компенсаторные кольца 27.
Подшипники, находящиеся вблизи шестерен,
защищены от чрезмерного залива маслом маслоотражательными
шайбами 32.

Рис.
3
Крышка корпуса соединена с основанием болтами
5,7 с гайками 6,4. Стопорение гаек относительно
корпуса осуществляется пружинными шайбами 12. Фиксирование крышки относительно
основания корпуса обеспечивается двумя коническими штифтами 22. Для облегчения
разборки редуктора в отверстия фланца основания корпуса ввинчены отжимные винты
13.
В крышке корпуса имеется люк для заливки масла
и контроля правильности зацепления. Люк закрыт крышкой 10, прикрепленной к
крышке корпуса винтами 9. В крышку ввернута пробковая отдушина 2, служащая
регулятором давления. Для наблюдения за уровнем масла в корпусе редуктора установлен маслоуказатель 3. В
нижней части корпуса имеется сливное отверстие, закрытое пробкой 2 с
цилиндрической резьбой.
2.3. Конструкция корпусов редукторов
Корпус редуктора предназначен для обеспечения
правильного взаимного расположения сопряженных деталей, восприятия нагрузок,
действующих в редукторе, служит для защиты деталей загрязнения, организации
системы смазки и отвода тепла.
Корпусные детали изготавливают литыми из
чугуна, реже сварными остальными или литыми из легких сплавов.
Основными критериями работоспособности корпуса
являются прочность и жесткость. Для увеличения жесткости корпуса в местах
установки подшипников предусматривают приливы (бобышки) и ребра жесткости.
Корпус редуктора выполняют разъемным
по плоскости расположения осей валов, что обеспечивает удобство сборки
редуктора. Плоскость разъема для простоты обработки располагают, как правило,
параллельно плоскости основания
2.4. Детали
и узлы редукторов
Соединение крышки корпуса с основанием
обеспечивается болтами, поставленными с зазором рис.4,а,б,
винтами рис.4,в или шпильками, фиксирование правильного взаимного расположения
частей корпуса – коническими рис.4,г,д или цилиндрическими штифтами. Конические
штифты, устанавливаемые в глухие отверстия, должны иметь внутреннюю резьбу рис.4,б
или резьбовую цапфу для извлечения шрифта при разборке редуктора.
Болты, стягивающие бобышки для гнезд
подшипников, располагают, возможно ближе к
подшипникам.
Для устранения течи масла через стык крышки и
корпуса плоскости разъема покрывают специальной пастой, спиртовым лаком или
жидким стеклом с последующей затяжкой болтов. Применение уплотняющих прокладок
не допускается, так как их деформация при затяжке болтов не позволяет
обеспечить точность размеров отверстий под подшипники.

Рис.4
Отжимные винты, применяемые для облегчения
отделения склеившихся корпусных деталей при разборке редуктора, завинчиваются в
одну часть корпуса и упираются в другую, рис.5.

Рис.5
Для подъема
и транспортировки корпусных деталей и собранного редуктора применяют проушины
рис.6,а,б,г; пазы рис.6,в, крючья рис.6,д отлитые
заодно с корпусом, или грузовые винты –рым-болты рис.6,е.

Рис.6
Крепление корпуса редуктора к плите или раме
производится винтами или шпильками с гайками, размещенными на приливах рис.7,а,
или в нишах рис.7,б, основания корпуса.

Рис.7
Подшипники, установленные на каждом валу, имеют
одинаковые размеры, что позволяет путем переворачивания валов получить
различные варианты сборки рис.8,а,б. Для более
равномерного распределения нагрузки между подшипниками одного вала шестерню и
колесо на входном и выходном валах целесообразно располагать дальше от опоры у
консольного конца вала, так как на концах валов редуктора устанавливают муфты,
шкивы или звездочки, создающую на ближайшие подшипники.
Шестерни изготавливают обычно заодно о валом, а
колеса насаживают на валы со шпонками с натягом, на шлицевые валы, а также на
гладкие валы с большим натягом. Сборника зубчатых колес с валами производится
под прессом или с температурным деформированием.
Наружные кольца подшипников устанавливают в
корпусе по посадке, обеспечивающей некоторый зазор, благодаря чему кольца
могут, проворачиваться во время работы подшипника и в контакт с телами качения
последовательно будут вступать все участки беговой дорожки. Наличие зазора
облегчает также перемещение колец при регулировке посадки подшипника.
Крышки,
закрывающие подшипники, выполняют привертными рис.8,а
и закладными рис.8,б. Привертные крышки удобнее в
эксплуатации, так как обеспечивают доступ к отдельным подшипникам для осмотра
без разборки редуктора. Закладные крышки упрощают конструкцию, снижают массу
редуктора, более эстетичны, однако их применение возможно только при наличии
разъема.

Рис.8
Уплотнительные устройства
подшипниковых узлов выполняют в виде сальниковых войлочных колец рис.9,б,
щелевых рис.9,в, лабиринтных рис.9,г, центральных или комбинированных
уплотнений. Применение тех или иных типов уплотнений определяется
скоростью деталей, температурой и давлением уплотняемой среды, допускаемой
утечкой масла.

Рис.9
2.5. Система смазки
Для смазки передач в редукторах применяют
циркуляционную или картерную системы смазки. В качестве смазки используют
жидкие масла марки «Индустриальное И-20А», «Индустриальное И-30А».
Циркуляционная смазка применяется при окружных
скоростях зубчатых колес свыше 12,5м/с. Масло, охлажденное и профильтрованное,
непрерывно подводится к трущимся поверхностям.
Картерная смазка применяется при окружных
скоростях зубчатых колес до 12,5 м/с. Масло заливают в корпус редуктора до
такого уровня, чтобы колеса быстроходной передачи при υ<1 м/с и тиходной – при υ>1 м/с
погружались в масляную ванну на величину hм≈…0,25
d2Т. При
вращении колес масло увлекается зубьями, разбрызгивается и, попадя на
внутренние поверхности корпуса, стекает в его нижнюю часть. Внутри корпуса
образуется масляный туман, покрывающий поверхности деталей внутри корпуса, в
том числе и подшипники качения.
В процессе работы масло загрязняется продуктами
износа, свойства масла со временем ухудшаются. Поэтому масло, налитое в корпус
редуктора, периодически меняют, сливают его, корпус промывают и заливают свежее
масло. Заливают масло через люк в крышке корпуса, а сливают через резьбовое
отверстие в его нижней части. Сливное отверстие закрывают пробкой с
цилиндрической, рис.11, а, или конической, рис.11,б. Для обеспечения надежности
уплотнения под пробку с цилиндрической резьбой ставят уплотняющую прокладку.
Пробка с конической резьбой дополнительного уплотнения не требует.

Рис.10

Рис.11
Уровень масла в корпусе редуктора определяют с
помощью маслоуказателя. При длительной работе масло и
воздух в редукторе нагреваются, при этом повышается давление внутри корпуса,
что приводит к просачиванию масла через уплотнения и стыки. Для предупреждения
выброса масла внутренняя полость редуктора сообщается с внешней средой с
помощью отдушины, рис.11 устанавливаемой в крышке люка корпуса.
3.
Последовательность выполнения работы
Производят
внешний осмотр редуктора, сверяют его соответствие общему виду на чертеже.
1.
Определение основных, габаритных и присоединительных размеров редуктора рис.12.
К основным размерам редуктора относятся
межосевые расстояния передач. Под габаритными понимают
три наибольших размера редуктора: по длине, высоте и ширине, определяющие
размещение редуктора в приводном устройстве и необходимые размеры тары для его
транспортирования.

Рис.12
Присоединительные размеры определяют размеры и
взаимное расположение поверхностей присоединения редуктора по отношению к
другим деталям. К ним относят:
а) диаметры
и длины выходных концов быстроходного и тихоходного валов и размеры,
определяющие их расположение относительно друг друга и опорной поверхности;
б) размеры отверстий под болты для крепления
редуктора к основанию и размеры, определяющие расположение этих отверстий;
в) размеры
установочной плоскости, которой редуктор ставится на плиту или раму.
Примечание. Для редуктора, концы быстроходных и
тихоходных валов которых выходят в одну сторону
межосевое расстояние
![]()
Результаты измерений заносят в лабораторный
журнал или таблицу отчета, оформляемого по прилагаемой форме.
2. Разборка
редуктора, ознакомление с его конструкцией и кинематической схемой.
Вывинчивают
пробку 2 и сливают масло.
Отвертывают гайки 4 и 6, вынимают болты 5 и 7,
снимают крышку редуктора 8, предварительно отжав ее винтом 13.
Знакомятся с конструкцией редуктора и
назначением деталей (с наименованием деталей знакомятся по спецификации чертежа
общего вида редуктора). Вычерчивают кинематическую схему редуктора в
соответствии с ГОСТом.
При
изучении конструкции редуктора следует охарактеризовать его систему смазки.
Замеряют
штангенциркулем расстояние между валами А, Б и
диаметры валов dB1 , dB2 , dB3 в метах замеров.
Вынимают закладные крышки 24, 28 и
регулировочные кольца 27.
Вынимают
последовательно входной 14, промежуточный 29 и выходной 18 валы редуктора с насаженным на них деталями и укладывают их на специальные
подставки.
Снимают
закладные сквозные крышки 15 и 20.
Примечание.
Подшипники и зубчатые колеса валов не снимаются.
Вынимают маслоуказатель 3, отвинчивают винты крышки люка 10 для
осмотра зацепления.
3.
Определение основных параметров зубчатых передач редуктора.
Параметры зубчатого зацепления определяют путем
замеров и последующих расчетов отдельных элементов шестерни и колеса.
По замерам А и Б с
учетом dB1/2 , dB2/2, dB3/2 определяют межосевое расстояние аω по ступеням, согласуя
его с единым рядом главных параметров.
Подсчитывают
числа зубьев колес Z1, Z2, Z3, Z4 .
Определяют
передаточное число по ступеням
UБ=Z2/Z1 , UN=Z4/Z3
и редуктора
в целом Uобщ= UБ∙ UТ.
Таблица 1. Межосевые расстояния аω
, мм.
|
1 ряд |
80 |
|
100 |
|
125 |
|
160 |
|
200 |
|
2 ряд |
|
90 |
|
112 |
|
140 |
|
180 |
|
Замеряют
диаметры вершин зубьев da и ширину В
зубчатых колес.
Подсчитывают
коэффициент относительной ширины колес
![]()
Определяют окружной mt и нормальный
mn модуль
зацепления для быстроходной и тихоходной передач
![]()
mn=mt∙cos β.
Так как в косозубых цилиндрических передачах
угол наклона зубьев сравнительно небольшой (β≈8…15о и cos β≈0,99…0,96),
за нормальный модуль в рассматриваемом зацеплении можно принять величину
окружного модуля, округленную в меньшую сторону до ближайшего стандартного
значения, таблица 2.
Таблица 2. Нормальные модули зубчатых колес mn , мм.
|
1 ряд |
1 |
|
1,5 |
|
2 |
|
2,5 |
|
3 |
|
4 |
|
|
2 ряд |
|
1,25 |
|
1,75 |
|
2,25 |
|
2,75 |
|
3,5 |
|
4,5 |
Определяют
направление зубьев колес
Замеряют угол наклона зубьев по вершинам βа (непосредственно по
диаметру выступов с помощью универсального угломера или по отпечаткам зубьев на
бумаге, предварительно нанеся на них тонкий слой краски).
Для уточнения и проверки правильности измерения
подсчитывают угол наклона зубьев (с точностью до 1'')
![]()
согласуя полученное
значение β с приведенными в таблице 3.
Подсчитывают
диаметры вершин зубьев
![]()
и
сравнивают их с измеренными значениями.
При совпадении подсчитанных и измеренных
значений диаметров – передача без смещения (Х1=Х2=0),
при несовпадении – определяют коэффициент смещения исходного контура.
Таблица 3. Углы наклона зуба на делительном цилиндре
|
аω |
100 |
125 |
160 |
|||
|
mn |
Zш+Zk |
β |
Zш+Zk |
β |
Zш+Zk |
β |
|
1,00 1,25 1,50 1,75 2,00 2,25 2,50 3,50 |
198 158 132 113 99 - - - |
8о06'34'' 9о04'07'' 8о06'34'' 8о36'09'' 8о06'34'' |
247 198 165 141 123 110 99 - |
8о53'06'' 8о06'34'' 8о06'34'' 9о14'55'' 10о15'47'' 8о06'34'' 8о06'34'' |
297 237 198 168 148 132 118 99 |
8о06'34'' 9о04'07'' 8о06'34'' 9о39'21'' 9о22'00'' 8о06'34'' 10о28'34'' 8о06'34'' |
![]()
Отсюда
![]()
Определяют
диаметр делительной окружности колеса и шестерни
![]()
Определяют
окружной Рt и нормальный Рn шаг зубьев
Рt =π∙mt,
Рn =
Рt∙ cosβ.
Результаты
замеров и расчетов заносят в лабораторный журнал или таблицу отчета.
4. Определение параметров, характеризующих
условия смазки зубчатых передач редуктора рис.13.

Рис.13
Измеряют расстояние от плоскости разъема до дна
корпуса hт.к , hт.ш. по осям
колес тихоходной и быстроходной передач.
Измерения производят с помощью двух линеек:
одну ставят ребром на плоскость разъема, другой измеряют расстояние о этого ребра до дна корпуса.
Измеряют
расстояние от плоскости разъема до отметки верхнего уровня масла на маслоуказателе 3.
Рассчитывают глубину погружения тихоходного
колеса в масло при верхнем его уровне в единицах модуля mn.т
![]()
Определяют
зазор между дном корпуса и тихоходным колесом
ат=hт.к–0,5∙da2т .
Примечание. При погружении в масло также и
колеса быстроходной ступени по аналогичным формулам находят глубину погружения hО.Б /mn.Б и зазор
аБ.
Результаты
измерений и расчетов заносят в лабораторный журнал или таблицу отчета.
5.
Определение допускаемого крутящего момента на выходном валу редуктора.
Для косозубых цилиндрических колес тихоходной ступени
допускаемый крутящий момент из условия контактной выносливости определяют по
зависимости
![]()
где [σн ] – допускаемое
контактное напряжение, МПа;
Кн –
коэффициент нагрузки при расчете на контактную выносливость;
Кнα – коэффициент, учитывающий распределение нагрузки
между зубьями.
Точные значения [σн], Кн , Кнα
принимают при известной степени точности зубчатой пары, материале зубчатых
колес и их термообработке, расположении колес относительно опор, частоте
вращения и режиме работы механизма.
Для приближенного определения крутящего момента
Т3 (в ньютонах-метрах) можно принять: при термической закалке колеса
и шестерни [σн]=800 МПа, при
термическом улучшении обоих колес [σн]=500
МПа; Кн ∙ Кнα=1,3.
6. Сборка редуктора.
Проверка
качества зацепления зубчатых передач
Конструкция редуктора позволяет осуществлять
узловую сборку. Отдельно собираются узлы, требующие применения пресса (колеса,
валы, подшипники). Далее собранные узлы монтируют в корпусе редуктора без
особых усилий.
Устанавливают в основание корпуса 1 валы 14,
18, 29 в сборе с зубчатыми колесами 23, 31, подшипниками 21, 30, 33, маслоотражательными шайбами 32 и распорными втулками 17,
25. Входной 14 и выходной 18 валы устанавливают вместе со сквозными крышками
15, 20.
Вставляют в пазы основания корпуса 1 врезные
крышки 24, 28, между наружными кольцами подшипников и крышками устанавливают
компенсирующие кольца 27.
Проверяют пятно контакта цилиндрических
зубчатых передач, визуально оценивают качество их изготовления.
Тщательно протирают зубья, наносят тонкий слой
краски на боковые поверхности двух-трех равноудаленных друг от друга зубьев
ведущих колес, поворачивая их определяют расположение
и размеры пятен касания на зубьях ведомых колес.
Определяют
относительные размеры пятна контакта в процентах, рис.14

Рис.14
по длине зуба – отношением расстояний между крайними
точками следов прилегания, за вычетом разрывов, превосходящих величину модуля,
к полной длине зуба
![]()
по высоте зуба – отношением средней высоты
пятна прилегания по всей длине зуба к его рабочей высоте
![]()
Размеры а, в, с замеряют
штангенциркулем. Рабочая высота зуба h3≈2∙mt .
Пятно контакта определяют на трех зубьях и вычисляют по среднему значению.
Соответственно полученным размерам пятна
контакта согласно нормам контакта зубьев в передаче, таблица 4, определяют
степень точности каждой зубчатой пары редуктора.
Завершают
сборку редуктора
Устанавливают по штифтам 22 крышку редуктора 8
и притягивают ее винтам к основанию корпуса 1.
Ввинчивают пробку 2 для слива масла, вставляют маслоуказатель 3, привинчивают крышку люка 10.
Таблица 4. Нормы контакта зубьев в передаче в % по ГОСТ 1643-81
|
Параметры |
Степень точности |
|||
|
7-я |
8-я |
9-я |
||
|
Пятно контакта |
по высоте не менее… по длине не менее… |
45 60 |
40 50 |
30 40 |
4. Вопросы для самоконтроля
1. Назначение,
устройство и классификация редуктора.
2. Чем
объясняется преимущественное применение в современных редукторах косозубых и
шевронных передач? Какими преимуществами и недостатками характеризуется
одинаковое и различное направление зубьев шестерни и колеса на промежуточном
валу редуктора?
3. Какое
конструктивное решение расположения шестерни на входном, а колеса на выходном
валу: ближе к опоре выходного конца вала или ближе к противоположной опоре,
более выгодно и почему?
4. Чем
объясняется то, что ширина венца шестерни принимается на 3…5 мм больше ширины
венца колеса?
5. Как
осуществляется регулировка подшипниковых узлов? Назначение компенсирующих колец
и прокладок?
6.
Преимущества и недостатки врезных крыше подшипников перед привертными?
7. Для чего
при изготовлении корпусных деталей редуктора между ними ставятся штифты?
8. Как
обеспечивается герметичность в плоскости стыка корпуса и крышки редуктора?
Назначение отжимных винтов?
9. Какие
конструктивные решения предусмотрены для захвата при подъеме и транспортировке
корпусных деталей и собранного редуктора?
5.
Список использованных источников
1. Иванов М.Н.
Детали машин: Учебник для машиностроительных специальностей вузов/ М.Н. Иванов,
В.А. Финогенов. – М.: Высш.
шк., 2002 . – 408 с.
2. Шейнблит А.Е. Курсовое пректирование деталей
машин. – М.: Высш. шк.,
1991 . – 432 с.
3. Иосилевич Г.Б. Прикладная механика: Учеб. для вузов/ Г.Б. Иосилевич, Г.Б. Строганов, Г.С. Маслов. – М.: Высш. шк., 1989 . – 351 с.
email: KarimovI@rambler.ru
Адрес: Россия, 450071, г.Уфа, почтовый ящик 21
Теоретическая механика Сопротивление материалов
Строительная механика Детали машин Теория машин и механизмов