Лабораторная
работа
Изучение конструкции подшипников качения и
типовых подшипниковых узлов
1. Цель работы
1) ознакомление с классификацией, конструкцией и
условными обозначениями типов подшипников качения;
2) изучение типовых узлов опор валов с подшипниками качения.
2. Теоретические положения
2.1. Классификация подшипников
Подшипники качения классифицируют по
следующим основным признакам:
- направлению действия воспринимаемой
нагрузки относительно оси вращения вала:
а) радиальные, воспринимающие
преимущественно радиальную нагрузку, действующую перпендикулярно оси вращения
вала;
б) упорные, воспринимающие
преимущественно осевую нагрузку, действующую вдоль оси вращения вала;
в) радиально – упорные,
воспринимающие комбинированную нагрузку, одновременно действующую на подшипник
в радиальном и осевом направлениях, причем преобладающей может быть как
радиальная, так и осевая нагрузка;
г) упорно – радиальные,
воспринимающие в основном осевую нагрузку,
- форме тел качения:
а) шариковые (тела качения – шарики);
б) роликовые (тела качения – ролики):
с короткими цилиндрическими роликами; с
длинными цилиндрическими роликами; с игольчатыми роликами; с коническими и
сферическими роликами,
- числу рядов тел вращения:
однорядные; двухрядные; четырехрядные,
- способности самоустанавливаться:
самоустанавливающиеся и
несамоустанавливающиеся.
По соотношению габаритных размеров
подшипники разделяют на размерные серии:
- по радиальным габаритным размерам:
сверхлегкую, особолегкую,
легкую, среднюю и тяжелую,
- по ширине:
особо узкую, узкую, нормальную,
широкую, особо широкую.
Подшипники качения отличаются
допускаемой радиальной или осевой нагрузкой, предельной частотой вращения и грузоподъемностью.
Полная классификация подшипников качения установлена ГОСТ 3395 – 89.
2.2. Краткая характеристика основных типов
подшипников качения
Шарикоподшипники радиальные однорядные (тип 0000) рис.1а
в основном предназначены для восприятия радиальных нагрузок, но могут
воспринимать и осевые нагрузки, действующие в особых направлениях вдоль оси
вала и не превышающие 70 % неиспользованной допустимой радиальной нагрузки.
Допускают перекос наружных колец относительно внутренних до 10…15'. По сравнению с
подшипниками качения других типов имеют минимальные потери на трение, обладают
большей быстроходностью. Являются одними из наиболее распространенных и дешевых
подшипников качения. Характеризуются сравнительно малой радиальной и осевой
жесткостью, что ограничивает их применение в узлах, требующих точной фиксации
валов.

Рис.1
Шароподшипники
радиальные двухрядные сферические рис.1б предназначены для радиальных и
небольших осевых нагрузок (до 20% величины неиспользованной допустимой
радиальной). Обеспечивают фиксации вала в осевом направлении в обе стороны.
Допускают значительный (до 2 – 30) перекос внутреннего кольца (оси
вала) относительно наружного кольца (оси отверстия корпуса). Применяются в
конструкциях с нежесткими валами и в узлах с технологически необеспечиваемой
строгой соосностью посадочных мест.
Роликоподшипники
радиальные с короткими цилиндрическими роликами (тип 2000) рис.1д предназначены
для восприятия значительных радиальных нагрузок. Изготовляют также подшипники с
дополнительным буртом на внутреннем (тип 42000) и наружном (тип 12000) кольце.
Эти подшипники могут воспринимать кроме радиальной и ограниченные осевые
нагрузки, фиксируя вал в осевом направлении. По сравнению с радиальными
однорядными шароподшипниками их грузоподъемность в среднем в 1,7 раза больше,
вместе с тем, по скоростынм характеристикам онинесколько уступают;
чувствительны к перекосам внутренних колец относительно наружных; требуют
жестких валов и точной соосности посадочных мест. Допускают раздельный монтаж
внутреннего (с комплектом роликов и наружного колец подшипника.
Роликопдшипники
радиальные игольчатые (тип 74000 и др.) рис.1з предназначены для восприятия
больших радиальных нагрузок, осевые нагрузки не воспринимают и осевое положение
вала не фиксируют. Имеют относительно меньшие габариты в радиальном направлении
по сравнению с подшипниками других типов при одинаковых с ними диаметрах
отверстия и грузоподъемности. Весьма чувствительны к прогибам вала и
несоосности посадочных мест. Для максимального уменьшения радиальных габаритов
могут применяться с одним наружным кольцом или только в виде комплектов игл.
Рекомендуется для использования в опорах, несущих постоянную или переменную
нагрузку при колебательном движении или
малых частотах вращения вала. Игольчатые подшипники высокой прочности с
сепаратором могут работать при скоростях на валу до 10 ... 12 м/с.
Роликоподшипники
радиальные двухрядные сферические (тип 3000) рис.1е предназначены для
восприятия радиальных и одновременнно осевых нагрузок, действующих в обоих
направлениях и непревышающих 25% неиспользованной допустимой радиальной
нагрузки. Могут работать и при чисто осевой нагрузке, однако в этом случае
воспринимать ее будет лишь один ряд роликовю Обладают болеее высокой
грузоподъемностью, чем равногабаритные сферические шарикоподшипники, но сложнее
их в изготовлении и дороже. Допускают значительные (до 2 – 30)
перекос внутреннего кольца относительно оси наружного. Применяются в узлах
тяжелонагруженных и многоопорных и двухопорных длинных валов, подверженных
значиетльным прогибам; в опорах машин, где при больших радиальных нагрузках
неизбежна несоосность посадочных мест.
Шарикоподшипники
радиально – упорные рисунок 6.1в предназначены для восприятия комбинированной
(радиальной и односторонней осевой) нагрузки. Допускаемавя осевая нагрузка
зависит от угла контакта α = 120 (тип 36000), α = 260 (тип 46000) и α = 360 (тип 66000).
Подшипники чувствительны к перекосам.
Для восприятия
двухсторонних осевых нагрузок в уловиях высоких требований к жесткости
применяют двухрядные подшипники (тип 3056000) рис.1г или подшипники в паре.
Роликоподшипники
радиально – упорные конические (тип 7000) рисунок 6.1ж предназначены для
восприятия значительных одновременно дейтсвующих радиальных и односторонних
осевых нагрузок. Способность воспринимать осевые нагрузки зависит от угла
конусности α наружного кольца,
при увеличении которого осевая грузоподъемность возрастает за счет уменьшения
радиальной.
От
радиально – упорных шарикоподшипников отличаются большей грузоподъемностью,
меньшими точностью и частотой вращения, меньшей стоимостью. Допускают
раздельный монтаж наружного и внутреннего колец, а также регулирование осевой
игры и радиального зазора. Перекосы вала относительно оси корпуса недопустимы.
Для фиксирования положения вала в обе стороны подшипники устанавливаются
попарно.
Шарикоподшипники упорные
предназначены для восприятия только осевых нагрузок: одинарная (тип 8000) рис.2а
– в одном направлении, двойные (тип 38000) рис.2б – в двух направлениях.
Применяются при сравнительно малых частотах вращения на горизонтальных валах их
ставить нерекомендуется.

Рис.2
2.3 Условные
обозначения подшипников
На торце одного из колец
подшипника выбивают его условное обозначение и номер завода – изготовителя.
Система основных условных обозначений подшипников предусмотрена ГОСТ 3189 – 75.
Условное обозначение
подшипника характеризует его внутренний диаметр, серию, тип, конструктивные
особенности, класс точности, условия изготовления и составляется из букв и цифр
рис.3.

Рис.3
Две первые цифры (читая
справо налево) обозначают внутренний диаметр подшипника. Для подшипника с
внутренним диаметром от 20 до
|
для подшипников с номинальным диаметром: |
10 |
12 |
15 |
17 |
|
диаметр
обозначается:
|
00 |
01 |
02 |
03 |
Если
диаметр отверстия подшипника от 10 до
- для подшипников с внутренним диаметром до 9 мм
включительно фактический размер диаметра характеризует первая цифра условного
обозначения, при этом на третьем месте ставится цифра 0.
Вторая цифра обозначает серию.
- для подшипников с внутренним диаметром, не равным
целому числу, в обозначении указывается размер диаметра, округленный до
единицы. На третьем месте ставится цифра 0, а на втором – цифра 4 или 5.
Подшипники с внутренним диаметром 0,6; 1,5; 2,5 мм и
более обозначаются дробью, в знаменателе которой указывается действительный
размер внутреннего диаметра, а в числителе – все остальные обозначения
параметров в установленном порядке.
Третья цифра справа обозначает серию диаметров
подшипников, кроме малых и не равных целому числу.
1 – основную из особо легкой серии, 2 – легкую, 3 –
среднюю, 4 – тяжелую, 5 – легкую широкую, 6 – среднюю широкую, 7 – особолегкую серию, 8 – основную из сверхлегкой серии, 9 –
сверхлегкую серию и серию подшипников с нормальными внутренними диаметрами
неопределенной ширины.
Серия подшипников с внутренним диаметром до 9 мм
включительно обозначается цифрами 1, 2, 3, 6, 7, 8 или 9, занимающими вторую
позицию соответственно образованиями серий диаметров.
Четвертая цифра справа обозначает тип подшипника:
0 – радиальный шариковый, 1 –
радиальный шариковый сферический , 2 – радиальный с короткими цилиндрическими
роликами, 3 – радиальный роликовый сферический, 4 – радиальный роликовый с
длинными сферическими роликами и игольчатый, 5 – радиальный роликовый с витыми
роликами, 6 – радиально – упорный шариковый, 7 – роликовый конический, 8 – упорный
шариковый, 9 – упорный роликовый.
Пятая или пятая и шестая цифры справа обозначают
конструктивные особенности подшипников (угол контакта шариков в радиально –
упорных подшипниках, наличие встроенного уплотнения или стопорной канавки на
наружном кольце и т.д.).
Седьмая цифра справа обозначает серию габаритов
подшипников по ширине:
1 – нормальную, 2- широкую, 3, 4, 5, 6 – особо
широкую, 7 – узкую, 8 – особо узкую.
Нули, стоящие левее последней значащей цифры (справа
налево), отбрасывают.
Слева и справа от основного условного обозначения
подшипника проставляются дополнительные цифровые и буквенные обозначения,
характеризующие класс точности и специальные условия изготовления подшипника.
Класс точности подшипника указывается цифрой,
отделенной от основных цифр обозначения знаком «тире», слева.
Установлены
следующие классы точности и их
обозначения: нормальный – 0, повышенный – 6, высокий - 5, прецизионный – 4, сверхпрезиционнный
– 2.
Перед классами точности, отделенным знаком «тире»,
проставляется номер дополнительного ряда, отвечающий величине радиального
зазора и осевой игры подшипника.
Подшипникам нормального класса точности и нормального
ряда радиального зазора дополнительные условные обозначения не присваиваются.
Дополнительные условные обозначения подшипников справа
от основного обозначения характеризуют отличие материала или конструкций
деталей, специальные технические требования, предъявляемые к подшипникам,
например:
Д – сепаратор подшипника изготовлен из алюминиевых
сплавов;
Р – детали подшипника изготовлены из теплостойкой
стали;
К – имеются конструктивные изменения в деталях
подшипника;
Ш – специальные требования к подшипнику по шуму.
Цифры 1, 2, 3 и т.д. справа от дополнительных знаков
Б, Г, Д, Е, К, Л, Р, Т, У, Х, Ш, Э, Я обозначают
каждое последующее исполнение с каким – то отличием от предыдущего.
2.4 Типовые узлы с подшипниками качения
Конструкция подшипникового узла и тип применяемого
подшипника определяют направлением, величиной и характером действующих нагрузок
(наличием радиальных и осевых сил, частотой вращения, плавным или ударным нагружением), расстоянием между опорами и взаимным их
расположением.
Подшипники должны быть подобраны и установлены так,
чтобы обеспечить необходимое радиальное и осевое фиксирование вала, не
подвергаясь нагрузкам, вызывающим заклинивание тел качения, возникающем при
тепловых деформациях деталей узла; перекосе вала; отклонения от
перпендикулярности заплечиков вала и корпуса к оси вращения; перетяжке при
монтаже и т.д.
По способности фиксировать вал в осевом направлении
опоры подразделяют на плавающие,
- допускающие осевое
перемещение вала в любом направлении
и фиксирующие,
- позволяющие фиксировать
осевое положение вала в одном или в обоих направлениях.
Воспринимать осевую нагрузку могут только фиксирующие
опоры.
В зависимости от конструкции узла возможны различные
сочетания плавающих и фиксирующих опор.
Схема 1. Обе опоры плавающие. Применяются в
цилиндрических редукторах и коробках передач, когда осевая фиксация вала
осуществляется какими – либо другими элементами конструкции, например, зубьями
шевронных колес или торцевыми шайбами.
Здесь плавающие опоры способствуют самоустановке вала
в осевом направлении и выравниванию нагрузки в зацеплении.
В качестве опор плавающих валов применяют радиальные
подшипники, чаще всего с короткими цилиндрическими роликами. Наибольшее
распространение получили следующие конструктивные схемы:
Схема по рис.4а. Внутренние кольца подшипников
закреплены на валу, а наружные – в корпусе. Осевое плавание вала обеспечивается
возможным смещением внутреннего кольца подшипников с комплектом роликов в
осевом направлении относительно неподвижного наружного кольца и происходит в
процессе вращения вала при незначительном усилии, что является основным
достоинством данной схемы.
Недостатком схемы являются:
а) необходимость применения очень жестких валов и
обеспечения высокой степени соосности посадочных
поверхностей вала и корпуса;
б) возможное значительное начальное осевое смещение
колец, в дальнейшем ничем не компенсируемое;
в) необходимость сравнительно точного изготовления
деталей по размерам l, L
и
обеспечения упора в отверстиях корпуса, усложняющего их обработку.
Схема по рис.4б. Внутренние кольца подшипников
закреплены на валу, наружные имеют некоторую свободу осевого перемещения.
Ограничение перемещения внутрь корпуса обеспечивается бортами колец
подшипников, в противоположную сторону – зазором Z.
Достоинством этой схемы является легкое плавание вала
при небольшой осевой силе, отсутствие упоров для внешних колец подшипников в
отверстиях корпуса, изготовление деталей
по размерам l, L и h по
свободным допускам ввиду возможного устранения накопленных погрешностей
компенсаторными прокладками К.

Рис.4
Недостатки данная схема имеет те же, что и схема по
рис.4а.
Схема по рис.4в. В опорах применяют радиальные
шариковые однорядные, шариковые и роликовые двухрядные сферические подшипники,
выбор того или иного типа из которых определяется потребной грузоподъемностью и
жесткостью вала. Внутренние кольца подшипников закреплены на валу, внешние
свободны и могут перемещаться вдоль отверстия корпуса на величину зазора Z,
устанавливаемого при сборке подбором компенсаторных прокладок К.
Достоинством этой схемы, наряду с отсутствием упоров
для внешних колец подшипников в отверстиях корпуса, является также возможность
ее применения при нежестких валах и при невысокой степени соосности
посадочных поверхностей вала и корпуса.
К недостаткам данной схемы следует отнести наличие
трения наружных колец подшипников по отверстиям корпуса и необходимость
приложения значительной осевой силы для осуществления плавания вала.
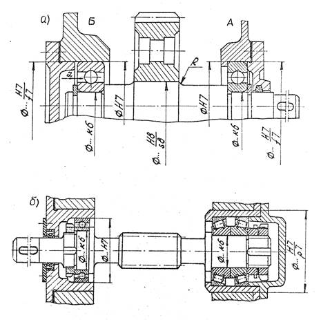
Схема 2. Одна из опор вала плавающая, вторая –
фиксирующая.
По этой схеме в одной опоре устанавливают подшипник,
фиксирующий положение вала относительно корпуса в обоих направлениях рисунок
6.5; его жестко закрепляют в осевом направлении на валу и в расточке корпуса
(опора А). Внутреннее кольцо другого подшипника жестко закреплено на валу, внешние кольцо не закреплено (плавающая опора Б).
Фиксирующая опора А
воспринимает радиальную и двустороннюю осевую нагрузки, плавающая Б – только
радиальную.
Свободное перемещение плавающего подшипника вдоль оси
обеспечивается посадкой наружного кольца в корпус с зазором при соответствующем
зазоре Z между торцами наружного кольца подшипника и бортом
крышек или упорных заплетчиков корпуса. В качестве плавающей обычно выполняют менее нагруженную опору.
Величины осевых перемещений валов в фиксирующих опорах
определяются осевым зазором в подшипниках, способом крепления колец подшипников
на валах и в корпусах, осевой жесткостью подшипников.
Для увеличения жесткости в фиксирующей опоре ставят
два однорядных, рисунок 6.5б или один сдвоенный подшипник. Такую схему
применяют в цилиндрических, конических и особенно червячных редукторах.
Основные достоинства схемы:
а) не требуется точного расположения посадочных мест
по длине, что особенно важно при расположении опор в отдельных корпусах;
б) опоры могут быть установлены на любом расстоянии
друг от друга, так как даже значительные температурные деформации будут
компенсироваться осевым перемещением плавающей опоры;
в) высокая осевая жесткость и грузоподъемность
фиксирующих опор, особенно в случае применения двух подшипников с большими
углами конуса или двухрядных упорных подшипников.
Недостатки схемы – сложная конструкция креплений
подшипников на валах и в корпусах.

Рис.5
Схема 3. Каждая из опор ограничивает перемещение вала
в одном направлении. Данная схема отличается простотой, ее конструктивное
решение требует меньшего количества деталей, отверстия корпуса под подшипники
выполняются сквозной расточкой за один проход, что обеспечивает большую
точность посадочных мест.
Эта схема имеет широкое применение, особенно в
редукторах при малом расстоянии между опорами. При больших расстояниях между
опорами следует учитывать возможность нарушения нормальной работы узла
(защемления тел качения) различного удлинения вала и корпуса при нагреве. Так,
при установке в опорах радиальных подшипников для компенсации температурных
деформаций между торцами наружных колец подшипников и крышек должен быть
оставлен зазор, превышающий тепловое удлинение. Величину зазора при расстоянии
между опорами L ≤
Требуемый зазор обеспечивается набором прокладок,
устанавливаемых между торцом крышки и корпусом.
Конструкция опор с радиально – упорными
шарикоподшипниками представлена на рис.6 с коническими роликоподшипниками – на
рис.7. Опоры фиксируют положение вала в осевом направлении в обе стороны,
осевой зазор регулируется комплектом металлических прокладок, устанавливаемых
между корпусом и крышкой.
Вследствие температурных деформаций, определяемых
длиной вала, схема 3 с радиально – упорными подшипниками применяется только при ограниченных расстояниями между зазорами. Предельное
расстояние между опорами вала определяется как типом подшипников, так и
условиями работы узла. К примеру, для схемы по рисунку 6.6 расстояние между опорами
вала червяка рекомендуется принимать не более 200 –
В рассматриваемых опорах не рекомендуется применять
подшипники с большими углами контакта (α > 20°), чувствительность
которых к осевой игре вызывает значительные затруднения при регулировке. В
значительной степени жесткость опор с радиально – упорными подшипниками зависит
от схемы их установки в узле. Так, при консольном закреплении вала конической
шестерни (схемы по рис.8) за счет увеличения базового размера L большая
жесткость узла достигается при установке подшипников по схеме рис.8б.
Ввиду того, что валы конических шестерен короткие и
осевые температурные деформации не играют той роли, что при длинных валах, и
при сравнительно малых расстояниях между подшипниками нагрузки, действующие на
вал и его опоры, велики, жесткость является основным требованием, предъявляемым
к опорам валов конических шестерен. Повышение жесткости подшипникового узла
позволяет уменьшить концентрацию нагрузки по длине зуба шестерни, обеспечивает
более высокую точность ее осевого расположения.
В конструкциях узлов конических шестерен в основном
применяют конические роликоподшипники – более грузоподъемные, менее дорогие,
обеспечивающие большую жесткость вала. При частотах вращения n >1500 мин -1 с необходимой высокой
точностью применяют и более дорогие шариковые радиально – упорные подшипники.

Рис.6

Рис.7
Установка подшипников в стакан упрощает
регулирование фиксирующих опор и осевого положения вала – шестерни. По рис.8а
регулирование подшипников осуществляют набором прокладок, устанавливаемых между
стаканом и крышкой, по рис.8б – круглой шлицевой гайкой.
3.
Порядок выполнения работы
3.1. По плакатам и справочникам студенты
знакомятся с классификацией и
конструкцией подшипников качения, их условными обозначениями.
Рассматривают примеры условных обозначений
подшипников.

Рис.8
3.2. Проводят необходимые замеры каждого из полученных
в комплекте основных типов подшипников, выполняют их эскизы с основными
размерами, рис.9. На эскизах подшипников стрелками указывают направление
воспринимаемых нагрузок.
3.3. Составляют краткую характеристику изучаемых
подшипников, в которой следует:
- отразить назначение и область их применения
(возможность восприятия нагрузок различных направлений, способность фиксации
вала в осевом направлении, возможность использования при перекосе вала в
корпусе);
- дать сравнительную оценку по грузоподъемности и
жесткости в радиальном и осевом направлениях.

Рис.9
3.4. По плакатам и атласам студенты знакомятся с
типовыми схемами опор валов.

Рис.10
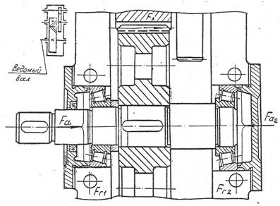
3.5. Дается описание одной или нескольких (по указанию
преподавателя) конструкций опор вала, в котором следует:
- охарактеризовать схему, по которой выполнен
рассматриваемый вал;
- указать, какая из опор
является “плавающей” и какая фиксирующей;
- рассмотреть используемый способ крепления и регулировки
подшипников.
На чертеже рассматриваемой конструкции показывают
силы, действующие в узлах (см. пример на рис.10).
4.
Вопросы для самоконтроля
1. Основные детали подшипников качения и их
назначение.
2. Как классифицируют подшипники качения по характеру
нагрузки, для восприятия которой они предназначены?
3. Какими особенностями обладают радиально – упорные
шарикоподшипники?
4. Какими особенностями обладают сферические
двухрядные шарикоподшипники и для каких
конструкций они рекомендуются?
5. Основные виды разрушения деталей подшипников.
6. Основные требования при проектировании
подшипниковых узлов.
7. Какие опоры называются “плавающими”, какие “фиксирующими”?
8. Основные схемы валов с опорами.
9. Какие типы подшипников необходимо регулировать при
сборке? Способы регулировки подшипников?
5.
Список использованной литературы
1) Иванов М.Н. Детали машин: Учебник для вузов/ М.Н.
Иванов, В.А. Финогенов. - М.: Высшая шк., 2002.- 408 с.
2) Решетов Д.Н. Детали машин: Учебник для вузов. - М.:
Машиностроение, 1975.- 656 с.
3) Гузенков П.Г. Детали машин: Учебник для вузов.- М.:
Высшая шк., 1986.- 395 с.
4) Подшипники качения справочник – каталог. Под ред.
Нарышкина и Коросташевского Р.В. – М.:
Машиностроение, 1984. – 542 с.
5) Анурьев В.И. Справочник
конструктора-машиностроителя. Т. 2. – 5-е издание перераб.
и доп. – М.: Машиностроение, 1980. – 559 с.
6) Подшипники качения. Государственные стандарты СССР.
– В 2-х ч. Ч.1. – М.: Стандартов, 1989. – 439 с.
7) Подшипники качения. Государственные стандарты СССР.
– В 2-х ч. Ч.2. – М.: Стандартов, 1989. – 432 с.
email: KarimovI@rambler.ru
Адрес: Россия, 450071, г.Уфа, почтовый ящик 21
Теоретическая механика Сопротивление материалов
Строительная механика Детали машин Теория машин и механизмов