Лабораторная
работа
Шпоночные
соединения
1.
Цель работы
Изучение конструкций шпоночных соединений, подбор и
расчет их на прочность.
2.
Оборудование и инструмент
1) Набор призматических, сегментных и клиновых шпонок.
2) Штангенциркуль.
3.
Содержание работы
Ознакомление с основными типами шпонок, их
назначением, достоинствами и недостатками. Вычерчивание шпоночных соединений и
отдельных шпонок с указанием геометрических параметров. Выполнение расчетов на
прочность различных шпоночных соединений. Выполнение записи условного
обозначения рассчитанных шпонок по ГОСТам.
4.
Основные понятия и расчетные зависимости
Шпоночные соединения служат для закрепления деталей на
валах и осях и предназначены для передачи крутящего момента.
Все шпоночные соединения можно разделить на две
группы: напряженные и ненапряженные. К первой группе относятся клиновые шпонки.
Ко второй – призматические и сегментные. Размеры
шпонок и допуски на них стандартизованы.
4.1. Соединения клиновыми шпонками
Передача крутящего момента клиновыми шпонками (ГОСТ
8791) (см. рисунок 1) производятся за
счет сил трения, которые образуются в соединении от запрессовки шпонки,
создавая, таким образом, напряжения до приложения рабочей нагрузки.
Паз в
ступице обрабатывается с
уклоном, равным уклону
шпонки (1:100), что часто требует индивидуальной пригонки шпонки по
пазу. Кроме того, клиновая форма шпонки может вызвать перекос детали, при
котором ее торцевая плоскость не будет перпендикулярна к оси вала.
Эти недостатки послужили причиной резкого сокращения
применения клиновых шпонок в условиях современного производства.
Рабочие поверхности шпонки испытывают напряжения
смятия и рассчитываются по условию прочности
![]()
где T – крутящий момент, передаваемый шпонкой, Нмм; b – ширина шпонки, мм; l – рабочая
длина шпонки, мм; f – 0,13…0,18 – коэффициент трения скольжения; d– диаметр
вала, мм;
- допускаемое
напряжение смятия материала шпонки, МПа.

Рис. 1. Соединение клиновой шпонкой
4.2. Соединения призматическими шпонками
Соединение призматическими шпонками (см. рисунок 2)
ненапряженное и требует изготовления вала и отверстий в ступице с большей
точностью. Крутящий момент передается боковыми гранями шпонки. При этом на них
возникают напряжения смятия
, а в продольном сечении
шпонки напряжения среза
.
Напряжения определяются по следующим условиям
прочности
![]()
![]()
где T – передаваемый крутящий момент, Нмм;
h и b – высота и ширина шпонки, мм, выбираемые по ГОСТ 8788 в зависимости от
диаметра вала d, мм;
z – количество шпонок, шт;
lp – рабочая длина шпонки, которая определяется от
исполнения шпонки, мм;
,
- допускаемые напряжения смятия и среза материала
шпонки, МПа.

Рис.2. Соединение призматической шпонкой
Шпонки имеют три исполнения: шпонки со скругленными
торцами и шпонки с плоскими торцами (см. рисунок 2).
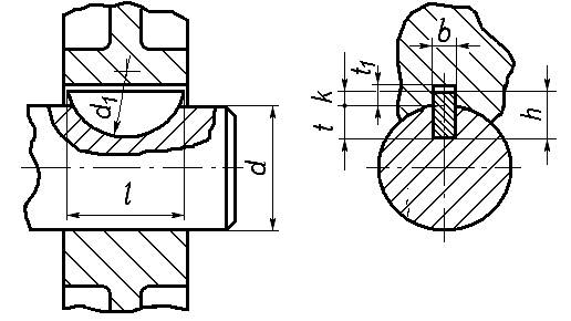
4.3. Соединение сегментными шпонками
Принцип работы сегментных шпонок (см. рисунок 3)
аналогичен работе призматических шпонок. Глубокая посадка шпонки в вал
обеспечивает более устойчивое положение, чем у призматической шпонки. Шпоночный
паз для сегментных шпонок фрезеруют специальной фрезой, соответствующей размеру
шпонки.
Однако глубокий паз значительно ослабляет вал.
Сегментные шпонки рассчитывают так же, как и
призматические из условия прочности на смятие и на срез
![]()
![]()
где k – возвышение шпонки над валом, k=h-t, мм; t – глубина шпоночного паза на валу, мм.

Рис. 3. Соединение сегментной шпонкой
5.
Материал шпонок и допускаемые напряжения
Шпонки изготавливаются из чистостянутых
прутков из углеродистых сталей по ГОСТ 1050 с пределом прочности не ниже
, реже легированных сталей 40Х,
45Х по ГОСТ 4543 ![]()
Величина допускаемых напряжений зависит от режима
работы, прочности материала вала и втулки, типа посадки втулки на вал (см.
таблицу 1).
Таблица 1. Величины допускаемых напряжений
|
Соединение |
Материал |
Нагрузка |
||
|
Спокойная |
Слабые толчки |
Ударная |
||
|
Напряжение смятия
|
||||
|
Неподвижное |
Сталь |
150 |
120 |
90 |
|
Чугун |
80 |
53 |
27 |
|
|
Подвижное |
Сталь |
50 |
40 |
30 |
|
Неподвижное,
подвижное |
Напряжение среза |
|||
|
Сталь |
90 |
72 |
54 |
|
6.
Порядок выполнения работы
1) Изучить основные типы шпоночных соединений.
2) Ознакомиться с конструкциями шпонок, имеющихся в
лаборатории.
3) Вычертить основные схемы шпоночных соединений и эскизы
представленных шпонок в двух проекциях с указанием всех размеров.
4) По указанию преподавателя провести прочностной
расчет шпоночных соединений.
5) Записать условные обозначения рассчитанных шпонок
по ГОСТам.
6) Оформить отчет о лабораторной работе.
7.
Задания для расчета шпоночных соединений
7.1. Соединение призматической шпонкой
Для соединения зубчатого колеса с валом редуктора (см.
рисунок 4) выбрать призматическую шпонку и определить ее длину из условия
прочности по напряжениям смятия и среза исходя из
данных, приведенных в таблице 2.
Таблица 2. Варианты для расчета призматических шпонок
|
Вариант |
1 |
2 |
3 |
4 |
5 |
6 |
7 |
8 |
9 |
10 |
|
Крутящий
момент, Т, Нм |
150 |
260 |
175 |
300 |
200 |
225 |
475 |
600 |
215 |
250 |
|
Диаметр
вала, d, мм |
30 |
40 |
32 |
42 |
36 |
38 |
60 |
70 |
35 |
50 |
|
Характер
нагрузки |
спокойная |
слабые толчки |
ударная |
|||||||
|
Материал
колеса |
чугун |
сталь |
чугун |
Сталь |
чугун |
|||||

Рис. 4. Соединение вала с колесом призматической
шпонкой
7.2. Соединение
сегментной шпонкой
Втулочная муфта соединяет два вала при помощи
сегментных шпонок (см. рисунок 5). Подобрать сегментные шпонки и проверить
соединения на смятие и на срез. Крутящий момент определить из условия прочности
вала на кручение из данных, приведенных в таблице 3.
![]()
Таблица 3. Варианты для расчета сегментных шпонок
|
Вариант |
1 |
2 |
3 |
4 |
5 |
6 |
7 |
8 |
9 |
10 |
|
Диаметр
вала, d, мм |
15 |
20 |
25 |
30 |
35 |
40 |
17 |
22 |
28 |
36 |
|
Допускаемое
напряжение, |
20 |
25 |
30 |
35 |
20 |
25 |
30 |
35 |
20 |
25 |

Рис. 5. Соединение валов с муфтой сегментными шпонками
7.3. Соединение клиновой шпонкой
Для вала диаметра d (см.
рисунок 1) подобрать размеры клиновой и призматической
шпонок. Определить, какой момент может передать каждая из этих шпонок, приняв
длину шпонок l=1,5d, коэффициент трения f=0,2. Вычертить в масштабе 1:1 поперечные и продольные разрезы вала со
шпонками и записать их условные обозначения по ГОСТам. Исходные данные
приведены в таблице 4.
Таблица 4. Варианты для расчета клиновых и
призматических шпонок
|
Вариант |
1 |
2 |
3 |
4 |
5 |
6 |
7 |
8 |
9 |
10 |
|
Диаметр вала, d, мм |
30 |
40 |
50 |
60 |
70 |
35 |
45 |
55 |
65 |
75 |
|
Характер нагрузки |
спокойная |
слабые толчки |
ударная |
спокойная |
слабые толчки |
|||||
8. Список использованных
источников
1) Иванов М.Н. Детали машин. Учебник для вузов / М.Н.
Иванов, В.А.Финогенов. - М.: Высшая школа, 1984.- 408
с.
2) Решетов Д.Н. Детали машин. Учебник для вузов / Д.Н.
Решетов. - М.: Машиностроение, 1975.- 656 с.
3) Гузенков П.Г. Детали машин. Учебник для вузов /
П.Г. Гузенков.- М.: Высшая школа, 1986.- 395 с.
Приложение А (справочное)
Шпонки
клиновые врезные
Схему клиновой шпонки см. на рисунке 1.
Таблица А.1.
Размеры сечения шпонок и пазов по ГОСТ 8791,
Размеры в мм
|
Диаметр вала, d (от-до) |
Сечение шпонки |
Глубина паза |
Длина шпонки l
(от-до) |
||
|
b |
h |
Вала t |
Втулки t1 |
||
|
от 10 до 14 |
4 |
4 |
2,5 |
1,5 |
15-50 |
|
св. 14-18 |
5 |
5 |
3 |
2 |
15-50 |
|
св. 18-24 |
6 |
6 |
3,5 |
2,5 |
20-60 |
|
св. 24-30 |
8 |
7 |
4 |
3 |
25-80 |
|
св. 30-36 |
10 |
8 |
4,5 |
3,5 |
35-90 |
|
св. 36-42 |
12 |
8 |
4,5 |
3,5 |
35-100 |
|
св. 42-48 |
14 |
9 |
5 |
5 |
40-140 |
|
св. 48-55 |
16 |
10 |
5 |
5 |
45-160 |
|
св. 55-65 |
18 |
11 |
5,5 |
5,5 |
50-180 |
|
св. 65-78 |
20 |
12 |
6 |
6 |
70-220 |
|
св. 78-90 |
14 |
14 |
7 |
7 |
90-260 |
|
св. 90-105 |
28 |
16 |
8 |
8 |
100-300 |
Примечание: Длины шпонок назначаются
в указанных приделах по конструктивным соображениям кратные 10 мм.
Приложение Б (справочное)
Шпонки
призматические
Схему призматической шпонки см. на рисунке 2.
Таблица Б.1.
Размеры шпонок и пазов по ГОСТ 8788,
Размеры в мм
|
Диаметр вала, d |
Размеры сечения шпонок |
Глубина паза |
||
|
Ширина, b |
Высота, h |
Вал, t |
Втулка, t1 |
|
|
от 6 до 8 |
2 |
2 |
1,2 |
1,0 |
|
св. 8-10 |
3 |
3 |
1,8 |
1,4 |
|
св. 10-12 |
4 |
4 |
2,5 |
1,8 |
|
св. 12-17 |
5 |
5 |
3 |
2,3 |
|
св. 17-22 |
6 |
6 |
3,5 |
2,8 |
|
св. 22-30 |
8 |
7 |
4 |
3,3 |
|
св. 30-38 |
10 |
8 |
5 |
3,3 |
|
св. 38-44 |
12 |
8 |
5 |
3,3 |
|
св. 44-50 |
14 |
9 |
5,5 |
3,8 |
|
св. 50-58 |
16 |
10 |
6 |
4,3 |
|
св. 58-65 |
18 |
11 |
7 |
4,4 |
|
св. 65-75 |
20 |
12 |
7,5 |
4,9 |
|
св. 75-85 |
22 |
14 |
9 |
5,4 |
|
св. 85-95 |
25 |
14 |
9 |
5,4 |
|
св. 95-110 |
28 |
16 |
10 |
6,4 |
Примечание:
Длины призматических шпонок выбирают из ряда (по ГОСТ 8789): 6; 8; 10; 12; 14;
16; 18; 20; 22; 25; 28; 32; 36; 40;
45; 50; 56; 63;
70; 80; 90; 100; 110; 125; 140; 160; 180; 200; 220; 250; 280; 320.
email: KarimovI@rambler.ru
Адрес: Россия, 450071, г.Уфа, почтовый ящик 21
Теоретическая механика Сопротивление материалов
Строительная механика Детали машин Теория машин и механизмов